CODENOLL TECHNOLOGY CORPORATION
CODENET-7568
|
Card Type |
Network Interface Card |
|
NIC Type |
Ethernet |
|
Maximum Onboard Memory |
4K |
|
Boot ROM |
Unidentified |
|
Network Transfer Rate |
10/100Mbps |
|
Topology |
Star |
|
Wiring Type |
Unshielded twisted pair |
|
Data Bus |
32-bit PCI |
|
CONNECTIONS | |||
|
Function |
Label |
Function |
Label |
|
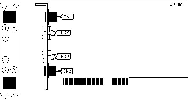
UTP via RJ-45 connector (100Mbps port) |
CN1 |
UTP via RJ-45 connector (10Mbps port) |
CN2 |
|
DIAGNOSTIC LED(S) | |||
|
LED |
Color |
Status |
Condition |
|
LED1 |
Unidentified |
On |
Data is being received on 100Mbps port |
|
LED1 |
Unidentified |
Off |
Data is not being received on 100Mbps port |
|
LED2 |
Unidentified |
On |
Data is being transmitted on 100Mbps port |
|
LED2 |
Unidentified |
Off |
Data is not being transmitted on 100Mbps port |
|
LED3 |
Unidentified |
On |
Network connection is good on 100Mbps port |
|
LED3 |
Unidentified |
Off |
Network connection is broken on 100Mbps port |
|
LED4 |
Unidentified |
On |
Network connection is good on 10Mbps port |
|
LED4 |
Unidentified |
Off |
Network connection is broken on 10Mbps port |
|
LED5 |
Unidentified |
On |
Data is being received on 10Mbps port |
|
LED5 |
Unidentified |
Off |
Data is not being received on 10Mbps port |
|
LED6 |
Unidentified |
On |
Data is being transmitted on 10Mbps port |
|
LED6 |
Unidentified |
Off |
Data is not being transmitted on 10Mbps port |